2018网络热词被申请商标的有哪些?

阅读:2427 2019-01-28 11:42:15


2018网络热词被申请商标的有哪些?





互联网时代,网络热词层出不穷,而且传播速度快、范围广。一些商家热衷于使用网络热词商标,首先是因为不需要花费太多宣传费用就可以快速获得较高的市场关注度,其次是因为部分网络热词与商家所经营商品及服务的含义不谋而合。注册热门词汇为商标的行为也越来越普遍,“给力”、“洪荒之力”和“佛系”等词都被申请成为商标了。



那么,2018年里又有哪些热词被申请为商标了呢?


1、确认过眼神


来源:该词原本是林俊杰的歌曲《醉赤壁》里面的一句歌词,完整的歌词为“确认过眼神,我遇上对的人”。


通过商标检索,30余家企业/个人在申请将“确认过眼神”(或相关词汇)注册为商标,其中,第25类、第35类较为热门。

2、隐形贫困人口


来源:自“贫穷限制了我的想象力”在网络上流传之后,网民对于“穷”的认识又有了新的领悟,并将一部分看起来每天有吃有喝但实际上非常穷称为隐形贫困人口。


广东一家食品贸易公司于今年5月份将“隐形贫困人口”一词在第30类递交了注册申请,目前,该商标正处于等待实质审查状态。



3、家里有矿


来源:最早源自赵本山老师的表情包,原梗出自电视剧《马大帅》,原话是“啥家庭啊,家里有矿啊?”形容别人很有钱,或者是吐槽不知道节俭很败家的人。


关于该词的商标申请,已有24条申请记录,其中潍坊的一家公司申请第3类用于化妆品等。家里有矿牌化妆品,了解一下?


4、土味情话

来源:土味情话这个梗的由来其实早已存在,是土味文化中的一个小分支,使得土味情话爆红网络。


通过商标检索可见,申请类别较为分散,其中,河北一家公司申请了7个类别,申请用于糖果、牛奶、饭店商业管理等商品或服务。


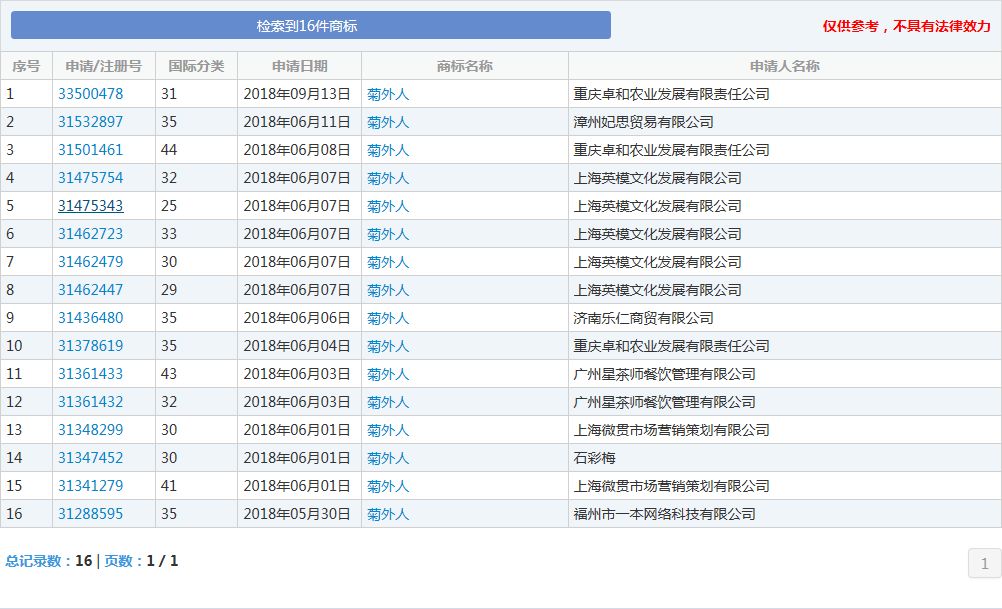
5、菊外人

来源:该词来源于2018年5月,王菊参加选秀节目《创造 101》,每期都处在淘汰边缘,靠着自己的高情商自黑、独立自主的女性宣言和高质量的舞台表演爆红,并以迅雷不及掩耳之势攻占了各大社交媒体。关于该词的商标申请,多集中于服务商标。


6、皮一下

来源:该词最早源自于方言,走红于游戏解说,尤其是芜湖大司马在直播中经常使用,因此该词最早在电竞圈中流行,后来使用范围逐步扩大,成为如今常见的吐槽类网络语。


随手一搜“皮一下”三字,竟然高达46条商标申请记录。其中,北京一家公司20多个类别,申请用于玩具、包、广告等商品或服务


7、skr

 来源:skr一般有两种用法:第一个是汽车轮胎打转的声音;第二种用法是吴亦凡在网综《中国新说唱》中带火的口头禅,后被粉丝制作为表情包,谐音“si ge”比如“热skr人了”、“你真skr小机灵鬼儿”。


和“skr”有关的商标,2018年新申请的就有98个。大概看了下这个商标的总体申请情况,大概有1/3申请成功了,还有部分待实质审查以及其它个人或者公司刚申请的。


8、冲鸭

来源:冲鸭,网络流行词,是“冲呀”一词的谐音的说法,表示充满朝气、斗志盎然的意思,是如今网络上常见的一种比较卖萌可爱的加油打气的词语。


目前,在商标局官网上显示,带“冲鸭”二字的商标有14个,申请时间都在今年8月到10月之间。


9、走花路

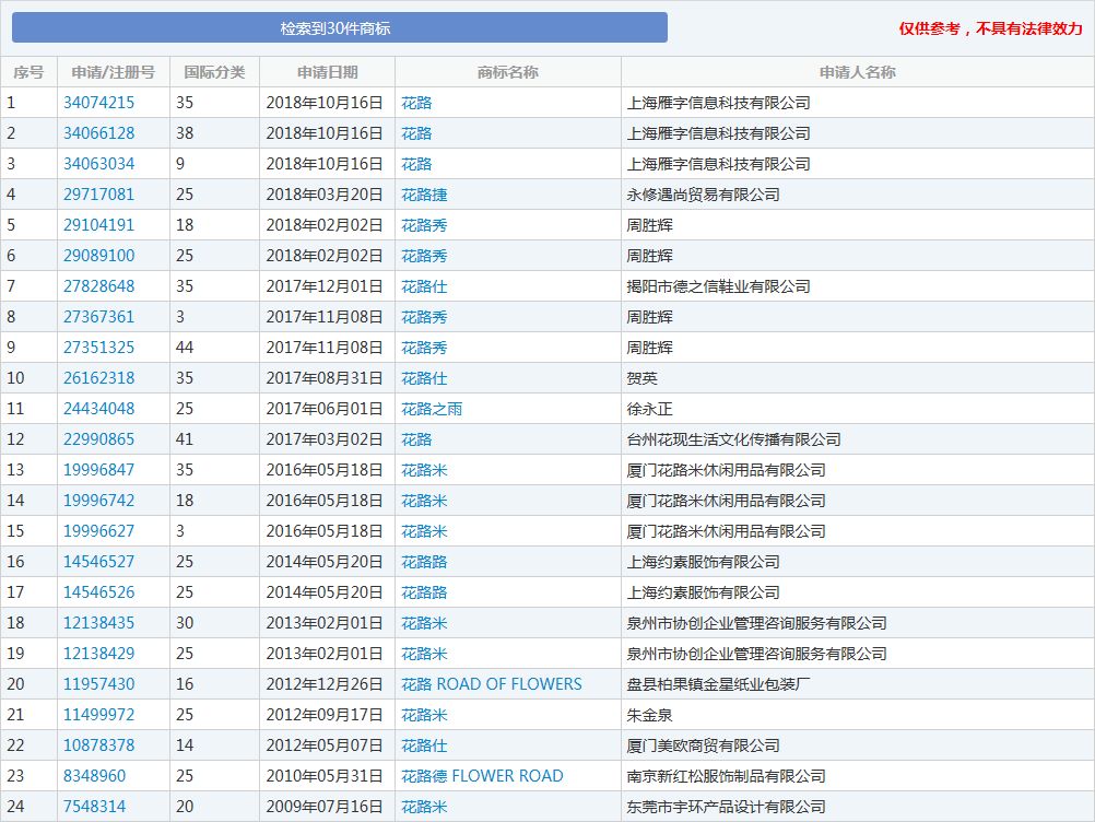
来源:走花路,网络流行词,全称一起走花路吧(英文:Hope you everything goes well. Deo gratias),指包含希望一直有好事发生的含义的比喻的表现方式。


“花路”商标一共有4个申请记录,分别是41类、9类、35类和38类被申请注册。


10、大猪蹄子

来源:大猪蹄子,网络流行词,通常是女生用来diss男生变心、说话不算数的常见用语,也可以用来吐槽男生不解风情、钢铁直男。该词可以通俗的理解为“男人没一个好东西” 。该词于2018年8月《延禧攻略》的播出之后火遍于网络。


“大猪蹄子”商标共有5个申请记录,时间都在今年9月,目前这五个商标全数处于等待实质审查阶段。



商标一丨商标取名法则送上,不谢!

商标二丨真正的无纸化办公来啦!全部电子版证件!



相关文章
{{ v.title }}
{{ v.description||(cleanHtml(v.content)).substr(0,100)+'···' }}
你可能感兴趣
推荐阅读 更多>
推荐商标

{{ v.name }}

{{ v.cls }}类

立即购买 联系客服