华为想干嘛?一大波中国神兽被华为注册成为商标!

阅读:1236 2019-05-21 14:26:29

华为想干嘛?一大波中国神兽被华为注册成为商标!


阿里巴巴有个动物园,里面包含了菜鸟、天猫、飞猪、云凤蝶、蚂蚁、虾米、神马、闲鱼....


于是马云也就被大家形象地称之为“马园长”。


然而,你可知晓华为如今也有个“神兽团”?


这又是什么操作,一起来了解一下吧!



华为的自研能力被国内外的各路媒体称道不已,原因就是这两年华为在各个方面都开始大放异彩,不仅早前发布的麒麟系列芯片在自家的各旗舰手机中得到科技广大用户的认可,还在不久前发布了以“天罡”命名的世界首款5G核心芯片,可以看出来,华为为自家孩子起名字还是很有中国特色的。



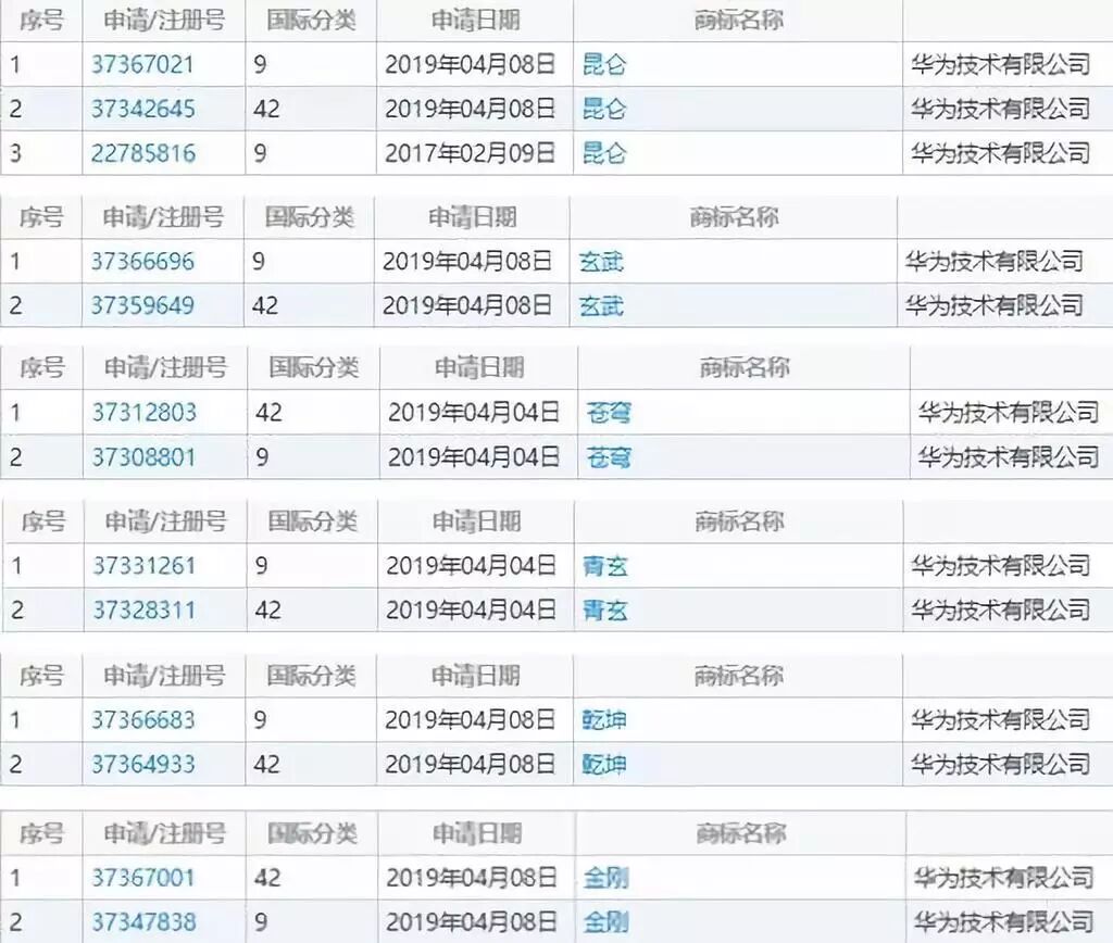
最近,有网友发现白虎、朱雀、青牛、鸿鹄、饕餮……等等这一大堆大家耳熟能详的具有中国特色的神兽名字被华为公司注册成了商标,在这之前,华为已经有了麒麟、天罡等中国风商标。



对此,网友调侃道:“华为负责商标注册的人是个妥妥的玄幻迷啊!”



还有网友把不服就干的小米拿出来说事:“小米赶紧跟上,把黑米糯米大米玉米所以米都注册了啊!”



也有网友从商业角度做出了解释:“大公司,注册商标通常都会把相似的或关联性强的一块注册了,主打一个但可能会附带注册几十几百甚至上千个,避免自己费时费力打响了商标知名度,别的公司搞擦边球注册,消费者被搞混了对公司带来损害。”



华为这是想干嘛?是为了后面推出某款产品注册的系列名称,还是为了别的什么?总不可能如一些网友调侃的那般“华为负责注册商标的人是个妥妥的玄幻迷”吧。

从华为申请这一大堆商标的行为来看,绝对不是闲的没事做,明显是有针对性的。



首先从申请的商标名称来看,均是与中国传统神话中的神兽相关;其次,如今在华为旗下已有多款芯片产品命名是与神兽名字相关的;再者,华为所申请的这堆商标均只申请了第9类和第42类,针对性强,从商标类别明细来看,这些商标名称极有可能是华为未来要推出的芯片产品。

其实不管是手机还是笔记本电脑,芯片技术一直是各大品牌专心研发的领域,对于华为更是如此。这一次申请了众多或与芯片名称相关的商标,不难看出华为想在这方面做大做强的决心。

不管是什么原因让华为注册了这么多的中国风商标,但是华为肯定不是闲得无聊注册的玩的,相信华为在以后的发展中会陆续放出这些神兽的,让我们拭目以待吧!


相关文章
{{ v.title }}
{{ v.description||(cleanHtml(v.content)).substr(0,100)+'···' }}
你可能感兴趣
推荐阅读 更多>
推荐商标

{{ v.name }}

{{ v.cls }}类

立即购买 联系客服